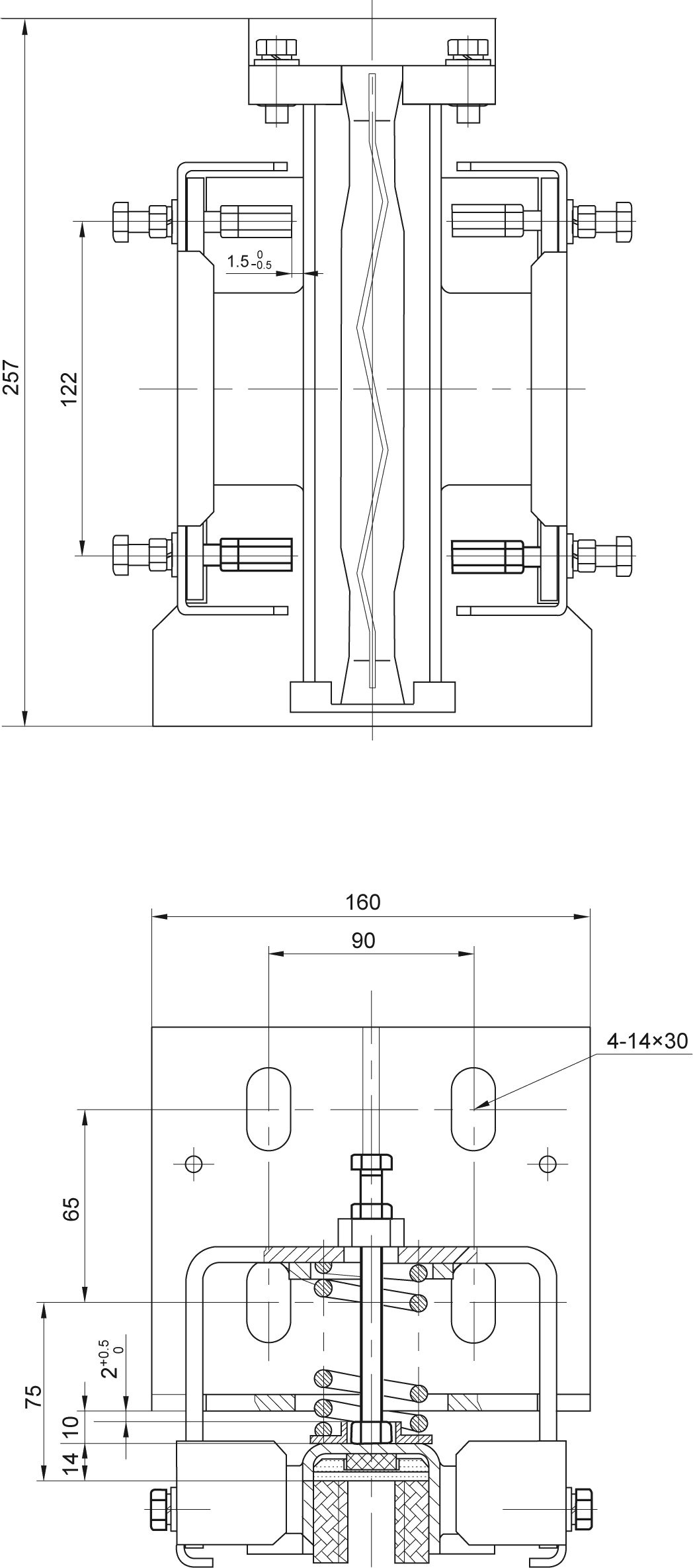
DX5滑動導(dǎo)靴
技術參數
1、轎廂額定速度:V≤2.5m/s
2、額定載重量:≤1500kg
3、對導軌麵正壓力:≤1200N
  對導軌麵側壓力:≤850N
4、用於導(dǎo)軌(guǐ)寬度:10、16mm
 
詳情可致電(diàn)“86-316-2018793”谘詢
產品介紹


网站地图 草莓丝瓜香蕉向日葵榴莲绿巨人ios-榴莲视频向日葵视频绿巨人视频-草莓丝瓜向日葵黄瓜榴莲污绿巨人-午夜向日葵视频在线视频观看视频-草莓丝瓜香蕉向日葵榴莲大全解锁版下载-丝瓜草莓榴莲向日葵18岁app下载